Фотографии и чертежи транспорта
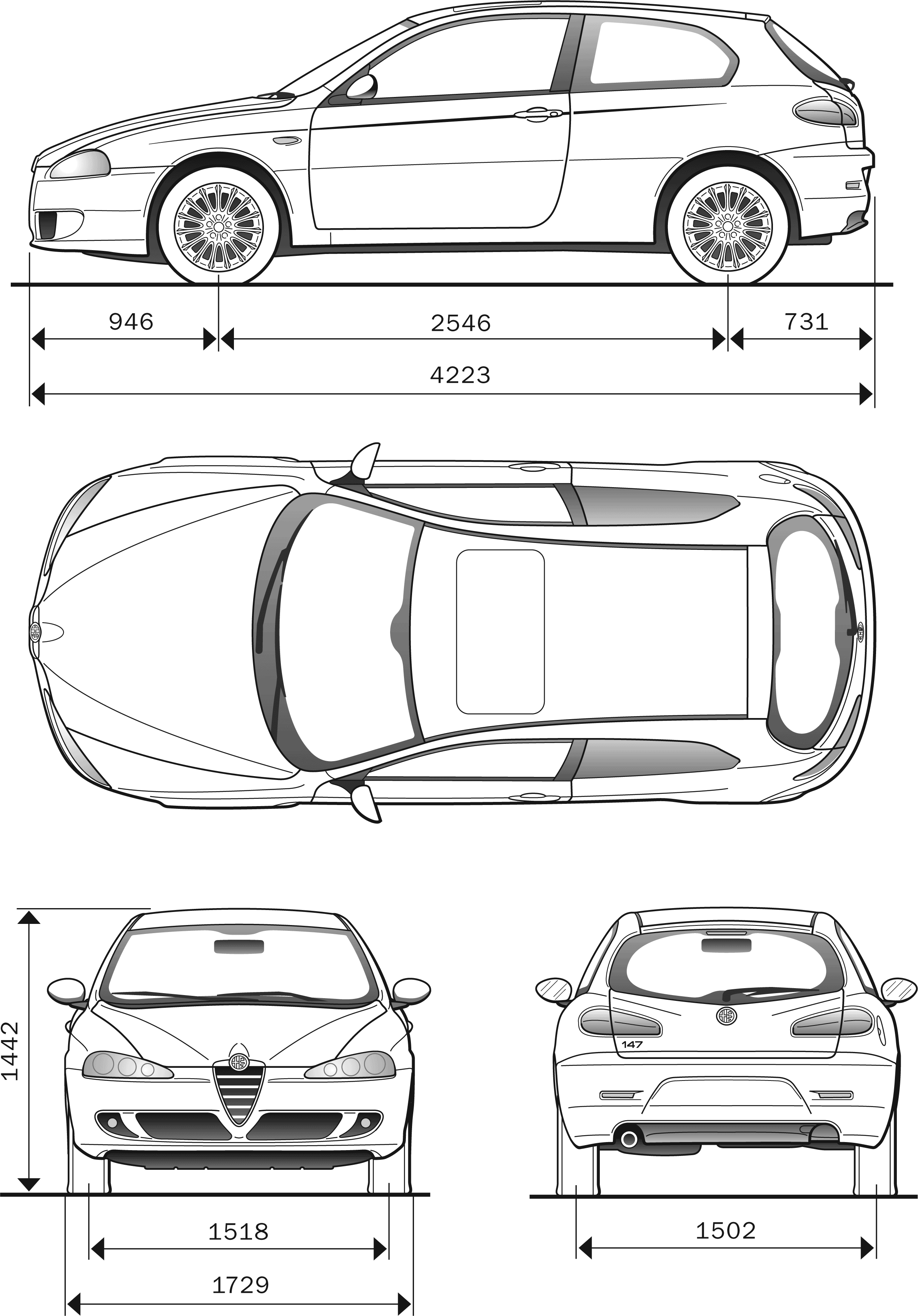
Alfa Romeo 147
Информация о материале
Родительская категория:
Автомобили Италии
Серия 937
Годы производства
2000—2010 г.г.
Изображения
Поиск
Подробнее: Alfa Romeo 6C 2...
Этот день в истории
No events
Правообладателям