Танкетка Т-27

На основе танкетки Carden-Loyd Mk.IV

Годы выпуска 1931—1933 г.г.

Выпущено 3295 шт

Технические характеристики

Боевая масса, т 2,7
Компоновочная схема впереди трансмиссия, в центре двигатель, сзади экипаж
Экипаж, чел. 2
Длина корпуса, мм 2600
Ширина, мм 1830
Высота, мм 1443
Клиренс, мм 240
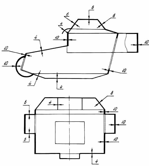
Бронирование
Тип брони гомогенная
Лоб корпуса (верх), мм/град. 10/52°, 10/75°, 10/0°
Лоб корпуса (низ), мм/град. 10/−15°
Борт корпуса, мм/град. 10/0°
Корма корпуса (верх), мм/град. 10/0°
Корма корпуса (низ), мм/град. 6/0°
Днище, мм 4
Крыша корпуса, мм 6
Лоб башни, мм/град. 10/30° (верхние колпаки)
Маска орудия, мм/град. 10 (щиток пулемёта)
Борт башни, мм/град. 6/35° (верхние колпаки)
Корма башни, мм/град. 6/30° (верхние колпаки)
Вооружение
Пулемёты 1 × 7,62-мм ДТ
Двигатель Форд-АА (ГАЗ-АА)
Мощность двигателя, л. с. 40
Скорость по шоссе, км/ч 40
Скорость по пересечённой местности, км/ч 16
Запас хода по шоссе, км 120
Запас хода по пересечённой местности, км 60
Удельная мощность, л. с./т 14,8
Тип подвески блокированная полужёсткая
Удельное давление на грунт, кг/см² 0,66
Преодолеваемый подъём, град. 30°
Преодолеваемая стенка, м 0,5
Преодолеваемый ров, м 1,2
Преодолеваемый брод, м 0,5

Изображения

Силуэт танкетки Т-27Танкетка Т-27Т-27 устанавливает мостТ-27 с установленным в походном положении мостомТанкетка Т-27Схема бронирования Т-27Чертеж Т-27Чертеж Т-27Чертеж Т-27


Правообладателям